http://www.chaccountingtax.com/389362146231038234333686420241373293034026368203393157430053.html
[
阅读全文]

就是一欧洲人发明的运动,亚洲人瞎掺乎;和铅球一样。
千年前高俅踢的就是25%的小球。
[
阅读全文]
都是运动型的,人民喜欢运动,所以运动型的领袖会越来越普及。
[
阅读全文]

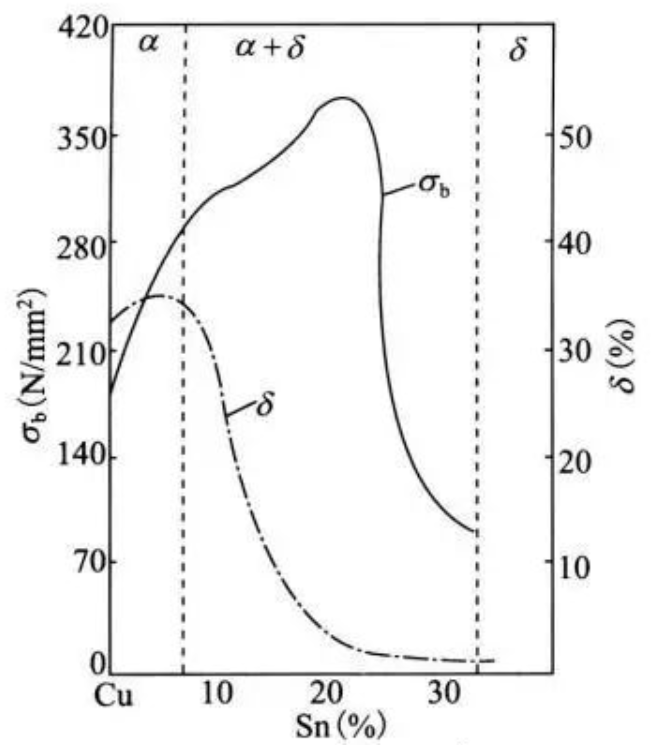
在青铜时代,铸剑的关键是在冶炼时,向铜里加入多少锡。锡少了,剑软;锡多了,剑硬,但容易折断。因此,随着技术进步,人们向青铜增加其他金属改变性能,剑身就一直在不断地加长。铜里面加入合金,一般是为了提高铜的强度。不过合金的组成是有要求的,拿青铜来说,随着含锡量的增加,青铜的强度、塑性不断升高,含锡量达到5%~6%时塑性下降,含锡量达到20%时强度[
阅读全文]
https://baijiahao.baidu.com/s?id=1674859699760239762&wfr=spider&for=pc
[
阅读全文]